HELP TOPICS
DOWNLOAD

API RP 2A-LRFD (1st, 1993)

API RP 2A-LRFD checks the structural strength and stability requirements for steel cylindrical elements. Sections D (Cylindrical Member Design) and E (Connections) are implemented.

This standard is applied to the cylindrical members with the Thickness ≥ 6mm, ratio D / t < 300 and Yield < 414 MPa.

To add the Standard execute Standards - Main - API - API RP 2A-LRFD (1st, 1993) from the ribbon:

API

Press API RP 2A-LRFD (1st, 1993) | Help | SDC Verifier to Set Standard Custom Settings

Safety Factors are set to Standard default values. It is not necessary to change them.

According to the calculation procedure, Beam Length for Y and Z direction is required. Data from Beam Member Finder is used automatically. If beam members are not recognized press API RP 2A-LRFD (1st, 1993) | Help | SDC Verifier.

Standard uses material data (Yield/Tensile) in calculations. Wizard checks if the values are defined for all materials.

It is possible to use API 2A RP (1st, 1993) in combination with AISC 360-10 Members (14th, 2010) standard. Set option Use AISC 360-10 for non-tubular shapes checked to use the standard for non-tubular elements. Press API RP 2A-LRFD (1st, 1993) | Help | SDC Verifier to define settings.

Note: If the AISC 360-10 is included - 3 standards will be created:

  • API RP 2A-LRFD - circular tubes are calculated according to API LRFD;
  • AISC 360-10 - all supported shapes are calculated according to AISC 360-10;
  • AISC and API - combined standard where results for circular tubes are taken from API RP 2A-LRFD and results for other supported shapes - according to AISC 360-10.

Joint Check

Joint Check is a part of the API RP 2A-LRFD standard but is available for Custom Standard. To create a new Joint Check execute Checks - Add - Joint Check API LRFD (1st, 1993) from the checks context menu of a respective standard.

Joint_check

Press API RP 2A-LRFD (1st, 1993) | Help | SDC Verifier to automatically highlight single Connection selected in the table.

Recognition Settings are described in Common Options chapter.

Set Connection ID and press Navigate to display connection in the table.

Joint check is based on the connections. Each connection is a set of elements near joint node (see Joints Finder). Connections consists of Chord and braces. Brace contains only 1 element with ID defined in brackets (#). Connection can contain braces from both sides of the chord. The information is displayed in the second brackets: U- upper braces; L- lower braces;

Press Find Connections to find all connections of the model. A window with connections that are recommended to be checked manually will be displayed:

API RP 2A-LRFD (1st, 1993) | Help | SDC Verifier

Connection has to be checked when:

- D1 = D2 = d3 = d4, T1 = T2 = t3 = t4

- D1 = D2 = d4, T1 = T2 = t4, d3 > D1

- D1 = D2 = d3 = d4, T1 = T2 = t4, t3 > T1 according to the following image

API RP 2A-LRFD (1st, 1993) | Help | SDC Verifier

API RP 2A-LRFD (1st, 1993) | Help | SDC Verifier - add connection;

API RP 2A-LRFD (1st, 1993) | Help | SDC Verifier - edit connection;

API RP 2A-LRFD (1st, 1993) | Help | SDC Verifier - preview - highlight the selected connection;

API RP 2A-LRFD (1st, 1993) | Help | SDC Verifier - preview only selected connection;

API RP 2A-LRFD (1st, 1993) | Help | SDC Verifier - remove the selected connection;

API RP 2A-LRFD (1st, 1993) | Help | SDC Verifier - plot all connections values in colors + Labels with IDs;

API RP 2A-LRFD (1st, 1993) | Help | SDC Verifier - show an information about all connections;

API RP 2A-LRFD (1st, 1993) | Help | SDC Verifier - hide an information about all connections.

API RP 2A-LRFD (1st, 1993) | Help | SDC Verifier - clear all calculations for loads;

Edit Connection

Joint_edit_connection

Pick Chord elements and braces (each brace consist of 1 element) and press Calculate to preview the connection properties.

API RP 2A-LRFD (1st, 1993) | Help | SDC Verifier - swap chord and brace elements;

Press Preview Connection to highlight the connection on the model.

Set Braces Overlapping - open a window to set the overlapping brace. It is enabled only if one brace overlaps another one in the connection:

Joint_set_overlapping

Resistance Coef. - AISC resistance factor for the weld (Φsh).

Set Overlapped (Yes) / (No) - set to the selected braces if they are overlapped.

API RP 2A-LRFD (1st, 1993) | Help | SDC Verifier - set resistance coefficient for overlapped braces:

Joint_check_set_connection_par

All overlapped braces are displayed in the list with the related connection ID.

Fill Resistance coef. and press Apply to set the coefficient to all selected braces.

If no overlapped braces are found, a message will be displayed:

API RP 2A-LRFD (1st, 1993) | Help | SDC Verifier

API RP 2A-LRFD (1st, 1993) | Help | SDC Verifier - displays a window to set Load transfer (section E.3.4 in standard) for braces of connections which contain can:

Joint_check_set_brace_load_transfer

If load transfer is set to "No", formula (E.3.4-1a) will not be applied to the calculations, even if it matches the conditions.

It is possible to change the Effective Length manually. Set value to Effective Length field and press Apply to set value to the selected braces.

Joint Check Results

Joint_check_overall_table

Select Load and press Fill Table to display the results.

API RP 2A-LRFD (1st, 1993) | Help | SDC Verifier - export multiple loads results to excel file;

Mathematical background

All calculations are performed in accordance to API RP 2A-LRFD - Offshore platform loading standard (Section E).

Geometric parameters that are used in calculations are obtained by the following equations:

API RP 2A-LRFD (1st, 1993) | Help | SDC Verifier

The effective strength is defined as the buckling load for members loaded in either tension or compression, and as the yield load for members loaded primarily in tension:

API RP 2A-LRFD (1st, 1993) | Help | SDC Verifier

where

Fy  = the yield strength of the cord member at the joint (or 2/3 of the tensile strength if less), in stress units

Fyb = the yield strength of the brace member in stress units

Note: When a chord is formed by different properties parameters for such connections are updated (see Particular cases).

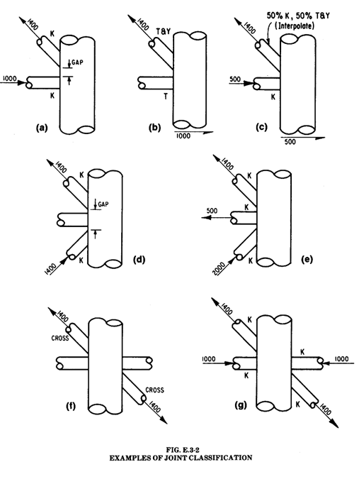
Brace Types. According to standard, joint types are defined by the following rules:

API RP 2A-LRFD (1st, 1993) | Help | SDC Verifier

The Joint type is based on the type of loading. By checking if forces of the connection are balanced, joint types are classified into K, TY, and X (Cross).

K - tension and compression loads are balanced.

TY - tension or compression load goes as a shear force in a chord.

X (Cross) - Connection has to contain braces from both sides to check on cross joint. If balanced forces of all braces of one side and balanced forces of all braces of other side are equal then all braces are classified as X (Cross).

Interpolation - the order of joint type recognition is following: K -> X (Cross) -> TY. Each brace can have all 3 types of joint type taken as the percentage of axial load of brace to the summation of all braces loads.

Note: If the brace has zero force, the joint type for such brace is set to TY.

Gap calculations. Gap is a minimum distance between two differently loaded braces (tension and compression) measured on a shell of the chord. It is possible that brace can have two or more gaps to considerate. Each gap percentage depends on the percentage of the taken load:

API RP 2A-LRFD (1st, 1993) | Help | SDC Verifier

Projected - brace axial force that is perpendicular to the chord;

Ftension - sum of all positive projected axial forces;

Fcompression - sum of all negative projected forces.

Example of gaps:

API RP 2A-LRFD (1st, 1993) | Help | SDC Verifier

Strength check. Joint capacity shall satisfy the following:

PD < φPuj........(E.3-2)

MD < φMuj........(E.3-3)

where

PD   = the factored axial load in the brace member, in force units

Puj  = the ultimate joint axial capacity, in force units

MD   = the factored bending moment capacity, in moment units

Muj  = the ultimate joint bending moment capacity, in moment units

Φj   = resistance factor tubular joints taken from the table below

API RP 2A-LRFD (1st, 1993) | Help | SDC Verifier

For braces which carry part of their load as K-Joints and part as T & Y or Cross joints, interpolate Φj is based on the portion of e ach in total:

Φj Total = (K percentage)* Φj + (T&Y percentage)* Φj + (Cross persentage)+ Φj

For combined axial loads and bending moments in the brace, Equation E.3.2 should be satisfied along with the following interaction equation:

API RP 2A-LRFD (1st, 1993) | Help | SDC Verifier

where

Ipb - in-plane bending

Opb - out-of-plane bending

The ultimate capacities are defined as follows:

API RP 2A-LRFD (1st, 1993) | Help | SDC Verifier

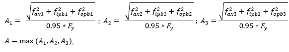
Calculations of A parameter are the following:

API RP 2A-LRFD (1st, 1993) | Help | SDC Verifier

API RP 2A-LRFD (1st, 1993) | Help | SDC Verifier

Axial and bending stresses.

API RP 2A-LRFD (1st, 1993) | Help | SDC Verifier

Extreme Fiber Stresses.

Extreme Fiber stress is a difference between axial and bending stresses:

API RP 2A-LRFD (1st, 1993) | Help | SDC Verifier

Elastic modulus.

API RP 2A-LRFD (1st, 1993) | Help | SDC Verifier

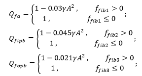
Qf is calculated for axial, in plane bending and out-of-plane bending parameters separately:

API RP 2A-LRFD (1st, 1993) | Help | SDC Verifier

Quis the ultimate strength factor which varies with the joint and load type:

API RP 2A-LRFD (1st, 1993) | Help | SDC Verifier

API RP 2A-LRFD (1st, 1993) | Help | SDC Verifier

Note: In no case Qg should be taken less than 1.

For braces which carry a part of their load as K-Joints and part as T&Y or Cross joints, interpolate Qu is based on the portion of each in total:

Qu total = (K percentage) * Qu + (T&Y percentage) * Qu + (Cross percentage) * Qu

Load Transfer

Puj = P(1) + (L / 2.5D) * (P(2)-P(1)), for L < 2.5D (E.3.4-1a)
Puj = P(2), for L > 2.5D (E.3.4-1b)

where:

P(1) = Puj from equation E.3.5 using nominal element geometric parameters (diameter, thickness, area, Fy);

P(2) = Puj from equation E.3.5 using can element geometric parameters (diameter, thickness, area, Fy);

Note: Load transfer calculations are applied when:

- Chord has increased thickness Tc;

- Effective length L matches the conditions like shown on the picture below;

- Brace chord diameters ratio (d/D) is less than 0.9, where D - diameter of a can element;

Note: Compression members are required to be checked on the load transfer, however it is possible to set the load transfer manually;

API RP 2A-LRFD (1st, 1993) | Help | SDC Verifier

Effective length L is calculated for each brace separately. It is a minimum distance from the end of can till the point of intersection of chord and brace multiplied on 2.

Tc ≥ T nominal;

L1, L2 ≤ 1.25D. If L1 and L2 exceed 1.25D distance, can will not be recognized;

D - can diameter;

L = 2 * L1 - effective length for the left brace;

L = 2 * L3 = 2 * L4 - effective length for the middle brace;

L = 2 * L2 - effective length for the right brace.

Overlapping joints

The factored axial Force component perpendicular to the chord PD⊥ should satisfy the following equation:

API RP 2A-LRFD (1st, 1993) | Help | SDC Verifier

API RP 2A-LRFD (1st, 1993) | Help | SDC Verifier

where

vw   = ΦshFy

Φsh  = the AISC resistance factor for the weld

tw  = the lesser of the weld throat thickness or the thickness, t, of the thinner brace

l1    = circumference for that portion of the brace which contacts the chord (actual length)

l   = circumference of the brace contact with the chord neglecting the presence of overlap

l2   = the projected chord length (one side) of the overlapping weld, measured perpendicular to the cord

API RP 2A-LRFD (1st, 1993) | Help | SDC Verifier

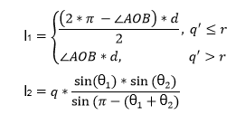
Note: Brace contacts chord under the angle creating elliptical intersection. SDC Verifier treats that kind of intersection as circular intersection so that l and l1 parameters are measured as circular circumferences:

API RP 2A-LRFD (1st, 1993) | Help | SDC Verifier

d=2*r;

l=π*d;

q'=q*sin(θ2);

API RP 2A-LRFD (1st, 1993) | Help | SDC Verifier

∠AOB - angle in radians;

θ1 - inclination of brace 1 to the chord;

θ2 - inclination of brace 2 to the chord;

Resistance coefficient φsh depends on the strength of welding and is used in calculations of overlapping (Section E.3.2 API 2A RP LRFD). A table is taken from Load and resistance factor design specification for structural steel buildings December, 27 1999. The default value in SDC is set to 0.9.

The design strength of welds shall be the lower value of (a)φFBMABM and (b)φFwAw, when applicable. The values of φ,FBM, and Fw and limitations thereon are given in Table J2.5,

where

FBM - nominal strength of the base material, ksi (MPa)
Fw - nominal strength of the weld electrode, ksi (MPa)
ABM - cross-sectional area of the base material, in.2(mm2)
Aw - effective cross-sectional area of the weld, in.2 (mm2)
φ - resistance factor

API RP 2A-LRFD (1st, 1993) | Help | SDC Verifier

[a] For definition of the effective areas, see Section J2.
[b] For matching filler metal, see Table 3.1, AWS D1.1.
[c] Filler metal is one strength level stronger than matching filler metal is permitted
[d] For T and corner joints with the backing bar left in place during service, filler metal with a classification requiring a minimum Charpy V-notch (CVN) toughness of 20 ft-lbs. (27 J) @ +40° shall be used. If filler metal without the required toughness is used and the backing bar is left in place, the joint shall be sized using the resistance factor and nominal strength for a partial-joint-penetration weld.
[e] Fillet welds and partial-joint-penetration groove welds joining component elements of built-up members, such as flange-to-web connections, are not required to be designed with regard to the tensile or compressive stress in these elements parallel to the axis of the welds.
[f] The design of connected material is governed by Sections J4 and J5.
[g] For alternative design strength, see Appendix J2.4

Particular cases

Sometimes models cannot represent the real situations. For such cases calculations are updated to get the worst possible result according to the parameters:

Case 1:

API RP 2A-LRFD (1st, 1993) | Help | SDC Verifier

When Chord is formed by elements with different properties around the joint node and D1<>D2, D = min(D1, D2); T = min(T1, T2) are considered for calculations.

Case 2:

API RP 2A-LRFD (1st, 1993) | Help | SDC Verifier

D1=D2, D1<D3. For such case D3 is recognized as chord as it has bigger diameter. Naturally pipe of bigger diameter cannot be welded to smaller. Such connections are recommended to be checked.

Case 3:

a)

API RP 2A-LRFD (1st, 1993) | Help | SDC Verifier

D1 = D2 = D3 = D4;

T1 = T2 = T3; T4 >T4;

When all diameters of the connection are equal, thicknesses are compared. Element with thickness = T4 is recognized as chord.

b) In case when:

D1 = D2 = D3 = D4;

T1 = T2 = T3 = T4;

When all elements of the connection are of the same dimensions, chord is recognized as the pair of elements that form straight line. If any pair that matches the conditions is found, random element will be recognized as chord.